SVX日記
2004-12-01(Wed) マイコン少年な思い出
このBlogを書いていてちょっと楽しみなのが「本日のリンク元」である。サミしいことに、今のところ恒常的に固定リンクをしているサイトは自分のウチだけなのであるが、Googleなどの検索エンジンからどんな検索ワードでココに来たかわかるというのも、ちょっと楽しいのである。例えば「google検索(SVX エアコン 修理)」や「google検索(S端子 コンポジット 変換 自作)」なんかだと「ほっほっほっ、ジャストミートじゃろ、えがったのぉ」と嬉しくなるし「google検索(outrun mp3)」とか「BIGLOBE検索(柴咲コウ似)」なんかだと「そりゃ、残念じゃったのぉ」などと失笑できる。
そんな中「google検索(ベンツネジ 買った)」というのを発見。おいら以外にも例の携帯電話用の特殊ネジを「ベンツネジ」なんて形容する奇特なヤツがいるんだなぁ、と思いつつ検索結果のページにいってみた。すると案の定、奇特な形容だけあって3件しかない。んが、そこで発見した「やねうらおのページ」というのにここ数年に一度という衝撃を受けたのであった。
思わず全ページを読み切ってしまった。書いてあることの内容の濃いこと濃いこと。その生活スタイルや子供の頃の思い出など、基本的にフリープログラマの日記なのではあるが、見方を変えるとこれはまるでオリンピック選手の日記ではないか。何しろ視点を置く場所が深い。目指す方向性が自分と同じ方向なだけに、悔しいのなんの。
なにせ、幼稚園の頃からTK-80をイジり始め、小学生にはBIOSを解析するばかりか、コピープロテクトを発案し、それで金儲けまで実践している。つーか、オイラそのコピープロテクト知ってたよ。考案したのは小学生だったんかいッ!! もーそりゃ、そら恐ろしい快進撃である。海外でたまにみる「小学生の歳で大学卒業」みたいな飛び級を目の当たりにした気分である。
オイラも小学6年にしてパソコンショップに通い詰めるわ、中学生になる前にマシン語に手をつけるわ、フロッピーディスクドライブの入手したその日に、友人からもらったFATの破損したシステムディスクをディスクエディタで復旧させるわ、という輝かしい過去(だと勝手に思っている)があるが、そんなの比べ物にさえならないじゃんッ!! 中学の頃、学校のクラブ活動の時間にマイコンクラブにおじゃましたことがあって、ちょうど同級生が今は亡きベーマガのプログラムをシコシコ打ちこみ「動かねぇ」と数人を巻き込んで悩んでいたところへ、ひょいと顔を出しスグさま「Syntax errorって、ここ打ち間違えてるじゃん」と指摘したところ、バケモノを見るような顔をされたことがあったが、いまバケモノを見るような顔をしているのはオイラの方な気がする……。
2004-12-02(Thu) 就職サイトと刺客……じゃなくて資格
あー、なんか頭が疲労気味である。なぜか異様にヤル気が出ない。例の「Shaken you up!!」のファームを進めねばと思いつつPCの電源を入れるも、適当なサイトをブラブラしてしまいどーにもならない。ムダに何度もメールをチェックしてしまう……お? 登録したまま放りっぱなしにしてあったリクナビNEXTからメールがきているぞ……さほど現在の仕事に不満があるわけでもないのだけどな。でも、気がつくと仕事を検索したりしてしまっている。うほ? 今月の履歴書ランキングだと? なんだなんだ?
どっはー!! 計算したら全部で417,593人の登録があるじゃねーの。んじゃオレ「10人中9番目」かよ。こんなんじゃ、もぅオイラにゃ転職は無理ですか!? でも、コレって以前に転職した時点の自分の履歴書情報だよな、どんな登録になってたっけ……あー、自己アピールとか空欄にしてるし。この人はやる気が感じられませんね。資格も当時の取得状況のマンマである。異業種(土木!!)からの転職ということで、ムキになって金バラまいて取ったCCNAとかMCSEとかORACLEとか書いてあるねぇ。かわいいねぇ。あんなにバンガったのに、ぜんぜん役に立ってないよねぇ。かわいいねぇ。
情報処理試験も「第2種情報処理技術者」しか登録してないや。あれからいろいろ取ったことだし、せっかくだから追加しとこう……て、なんだよこの選択肢の「マイコン応用システムエンジニア」って!! セキュアドもリストに入ってないぞ。おいおい、転職サイトでここまで情報が古いのってどうなのよ。まーいーや1種とマイコンを挙げとけば。あ、ネットワークスペシャリストはリストにあるな。んじゃ、それも。
いやしかし、よく掲示板なんかで資格について「役に立つ」「役に立たない」ってフレームを見るんだけど、おいらは「役に立つ」と思うのよね。だってココに書くだけで採用担当者の目にとまる確率は絶対にあがるんだから。でもって、試験は簡単だ。難しいという人もいるかもしれないけど、そんなことはない。だって、ネットワークスペシャリストなんて、TCPパケットの生ログを見た経験さえなくたって受かるんだぜ(←オレ)。そういう意味では実務に「役に立たない」レベルの知識を身に付けるだけで合格できるってことなんですッ、採用担当者は気をつけろッ、間違いないッ。
2004-12-03(Fri) ひと昔前の自分を振り返る
さて、年末も近づいてきた今日この頃であるが、こんな頃によくあるのが「×××を振り返る」みたいな企画である。しかしながら、振り返るためには当然ながら振り返る過去がなくてはならない。残念なことに、このSVX日記はまだ始めて半年チョイである。振り返る過去などあるわけないのである。
であるのだが、実はオイラ、かなり以前からこのSVX日記とは別のページで日記を運営しているのである(現在はほぼ放置状態だが)。その名も「フルタニアン社交場」。そーなのである。それをネタにすればいいのである。つーか例の煙突ハイキングのとき、自分で昔の日記を読み返す必要があって、その時に思いついたのである。
ここで「昔の日記」などと表現したが、その実は単なる掲示板である。当時、なんとなくイキオイで掲示板を設置してしまったのだが、当然ながらダーレも書き込んでくれない。仕方なく自分で勝手に日記+ネタを書き込んでいたところ、読者の誰かがそれに反応してカキコみ、その話題で盛り上がりつつ、またネタを追加するというスタイルに変化し、いつの間にやらメインコンテンツの一部に成長していたのであった。これは見方を変えると今のBlogそのものなのである!! そうなのだ。自慢ではないがBlogなどという存在が発生する前から、オイラはBlogスタイルを実践していたのである。おぉう、びっくりした。
掲示板というスタイルであるからツッコミの文量も内容も容赦なかった。しまいにはコラムサイトと相互にリンクを貼ったりしたこともあった……って、これはまさに今でいうところのトラックバックなのである!! まぁ、そんなこんなでBlogというのは、非常に自然に発生するべくして発生したシステムだということを再確認する次第であった。
それはそうとこの掲示板、まったくもって現在のBlogスタイルを踏襲しつつも、単なる掲示板であるからして、各発言は古いものから消え去ってしまうという特性があった。当時、世間一般の掲示板への書き込みといえば「サイトの感想→カキコのお礼」程度のものが多かったせいもあるだろう。掲示板の発言はそのような所業無常な扱いを受ける運命だった。しかし、ウチは今風のBlogスタイルである。単なる思い付きの発言よりは有用な記事が多いのである(ホントか!?)。そして幸いなことにプロバイダを移るにあたり、自分でスクリプトを作って過去の記事を全てHTML化していたのである。
でもって久々にそれを自分で読み返したのところ、コラムのリストページを見るだけでクリックする衝動を抑えられないようなオモロタイトルが目白押しだったのである(自画自賛するようでなんだが)。自分で書いたくせにコラムの内容もなかなかの傑作であると感心するモノもいくつかある。そして、読者の方々のツッコミの内容も濃い。「動く山の手歩道」「ひげそっち」「テレビ・レボリューション」あたりなんてツッコミのやりとりも含めて、もう一度ブラッシュアップしてここに載せたいくらいだ。というか、昨日は面白くて深夜までひとりクスクスしながら読みふけってしまったほどである。
残念なのは書いた当時(1999年だ)のリンクの多くが切れてしまっているところ。個人的に結構好きなコラムページとかあったのだけど今はどうされているのやら。それから、1999年中盤以降はHTML化をサボっていたので、自分で書いたはずのコラムが読めないこと。以前に書いた「新興宗教グルグル教」なんて自分で傑作だと記憶しているのだが、どこにも見つけられないのだ。あぁ、もったいない。
というわけで、このSVX日記をそれなりにオモシロオカシク読めた人は、ぜひ「フルタニアン交遊録」をノゾいてみて欲しい(読み返していてちょっと恥ずかしい文が多いのでアレだが)。今よりも濃いネタ、ちょっと懐かしいネタが満載である。
2004-12-04(Sat) ネズミ場&赤外線キー復活
本日はデゼニランド……じゃなかった、デゼニシーに行ったのであった。あたしゃ、どー見てもミツキマウスがカワイイとは思えないし、あの極度の鼻詰まりのような吹き替えの声を聞くと腹が立ってしかたないのであまり好きではないのだが、まぁタマに行くにはそう悪いところでもない。
それはそうと、オイラはエンジニヤだからしてどーにも「これはどういう仕組みなんじゃ!!」というところに興味がいってしまうのであった。中でも、アクアトピアという水上をスイスイクルクル回るライドにはちょっと驚いた。見た感じ水中に線路が無いのである。でもって、ライドはかなりの数、かなりの密度で動き回るが、お互いぶつかったりはしないのである。しかも、すぐ前のライドと同じ動きをするかといえばそうでもないのだ。むぅ、いったいどうなっているんじゃ。アチコチの岩場にアンテナらしきモノが立っていたような気もするが、それでフィードバックコントロールをしているのだろうか。それとも、実は水中の床の下に磁気ネイルでも埋め込んであるのだろうか。うぅむ、うぅむッ!!
仕組みはともかくとして、驚かされたのはシンドバッドなんたらというライド。船に乗って動く人形がたくさん並ぶ中を通り抜けるだけ、といえばだけなのだが、人形の数がハンパではないのだ。軽く100体以上あり、どれもかなり高度な動きをする。あれだけ数を揃えると毎日数体は故障しそうなものだが、パッと見で故障している人形は見当たらなかった。入場料が高いだけあって、スゴいメンテ体制なんだろうな。しかし滑らかな動きだ。動きをちゃんと確認する時間もないまま通り過ぎるなんてもったいない……などと、またアレゲなことを考えてしまった。
さて、そんなこんなでネズミ場から帰るなり、SVXのキーをバラし始めるのであった。出かける前に、カミさんに持たせてある「複製キー」で開錠を試したところ動作したのだ。よってドア側に問題はない。カギ側の電池切れかもしれない。んじゃ、バラして電池を入れ替えれば直るだろう。
それはそうと、こんな時に困るのは原因が「カギ」なのか「ドア」なのかわからないところ。SVXの場合ドア側が壊れるという症状もよく聞く。オイラのようにカギを複製していればすぐにチェックできるのだが、フツーの人はそーもいかない。んじゃ、どうするか。簡単である。デジカメのモニター画面でカギを捕らえつつ、ボタンを押すのだ。
上の写真はイメージ画像だが、デジカメのCCDは赤外線領域まで感度があるので赤外線LEDが白く光ることが確認できる。これでボタンを押しても光らない場合は「カギ」に原因があるとわかる。そうでなければ「ドア」らしいことがわかる。ちなみに、世間一般の赤外線リモコンも同じように白く光るのを確認できる。面白いのでゼヒ試してみよう。
2004-12-05(Sun) 灯油買って、ファーム作って
そうそう、12月2日にリクナビNEXTで自分の履歴書を更新した件の続報だが、速攻でスカウトメールが来た。いままで何年も音沙汰なかったのにイキナリメールが来るってコトは、採用側が履歴書を検索する際には更新日時の新しい履歴書から順に表示されるのだと考えてよいだろう。つーことで、リクナビNEXTで真剣に職探しをしている人は、毎日にでも自己PRの欄の句読点を取ったり付けたりしているとヨイということになる。まぁ実際、真剣に職を探している人ほど毎日サイトをチェックしたり、新たに取得した資格を追加したりしていると思うし、採用側も履歴書を検索したりスカウトメールを送るだけでも課金されているのだろうから真剣なハズだ。更新日時の新しい履歴書を重要視するのは妥当だと思われる。
それはそうとスカウトメールをみると、なんでもクルマのエンジン制御プログラムの開発とか解析関連っぽい仕事だ。うぅむ、おいらクルマ好きだし、ちょっと別世界をノゾくのもイイかも。でも、エンジンのファームとなると複雑なオブジェクト指向開発というよりは、脊髄反射のようなプログラムばかりたくさん作ることになるのかもしれないな。ふむん、どうだろう。
さてそんなこんなで、今日は買い物に行ったりしてホエホエしてたのだが、SVXには灯油のポリタンクがうまく載らないことに気がついてアセった。トランクでは高さが足りないのである。リアシートを倒してその上に載せようにもアブなっかしいったらない。もし倒してコボレでもしたら恐ろしいほどニオイが染み付くのは想像に難くない。結局、運転席と助手席のシートをちょっと前に出して、リアシートの足元に2個の灯油タンクを積むことにした。むむむ、運転しづらいずら。ソアラの時は後ろのシートがデッキのようになっていたので(エアロキャビンは2シータだ)平気でそこに載っけていたのだが、意外と灯油タンクって運びにくいものだったのねぇ。
既に遅々を超え遅々々々として進まない、例の「Shaken you up!!」のファーム開発だが、ボチボチと進めつつある。とりあえずタイマー割り込みで1秒という時間を刻むことに成功した……ボチボチするにもホドがあるってもんだが、まぁ仕方ない。それより発見だったのは、ボタン電池を使う都合上、極力消費電流を減らす設計にした結果、電池を外しても、100uFの電解コンデンサの蓄電容量だけで何十秒も稼動し続けてしまうという事実だ。これは良し悪しで、電池をサッと交換すれば時刻の再設定が不要という反面、時刻の修正がサッとできないということでもある。
何が問題かというと、タクトスイッチ2個、LED1個、振動モータ1個という入出力のみで、どうやって時刻調整インターフェイスを構築するかというハナシなのだ。結論からいうと対話的な時刻調整機能の実装は不可能なのである。しかし、まったく時刻設定が不可能では困るから「電池を入れた瞬間に規定の時刻から刻み始める」という仕様にするしかないかと思っているのである。
コレを書きながらアレコレ思索を巡らすうち、なんとなく結論に至った。まず、時刻調整の方法。これは上述の案の通り「電池を入れた瞬間に規定の時刻から刻み始める」に決定。そういうと1日に1回しか時刻調整のチャンスがないように思われるがサにアラず。この時計は6時間単位の計時を行うので、1日に4回の設定チャンスがあるのだ。具体的にいうと、午前零時、朝6時、昼の12時、夕方の18時だ。目覚まし時計が午前午後を区別せず12時間単位で時を刻むように、この時計は6時間単位で時を刻むのである。
2004-12-06(Mon) テレビ、壊れる
近頃、我が家のテレビの調子が悪い。92年春に購入した製品であり、もうすぐ丸13年になるのだから、まぁ調子が悪いほうが自然といえば返す言葉もない。症状は「しばしば左チャンネル、まれに右チャンネルから音が出ない」というもの。当然ながら「まれにまったく音が出なくなる」という事実を含む。非常に微妙な壊れ方だ。一方で映像に関してはゼンゼン問題なし。むしろこのテレビのメーカーがソニーであることを考えると、13年近く経ってこの壊れ方で収まっているという状況は「ソニータイマーが壊れている」とも表現できよう。ラッキーだ。
私はエンジニヤであるから、故障の症状から自然といろいろ勘ぐってしまう。音を大きくすると症状が出にくくなる、ということからすると、おそらく音声回路のハンダ浮きであると思われる。聞いたところによると、ソニーの製品は音質や画質などには非常にコダわっている反面、その作りは非常に安っぽいことが多いそうだ。早いハナシ「設計は素晴らしいが耐久性がない」ということ。おそらく、音声回路のハンダ浮き以外にもあちこち潜在的な病気を抱えているであろう。
で、どうするか。なんでも近年、文明開化が進んだせいで今では21型のテレビなんぞは2万以下が相場らしい。一方で修理の相場は1万円。これではヘタに修理などせず、新しいものを買ったほうがよいではないか。まさに、ザンギリ頭を叩くしかない状況なのである。映像が全く問題ないのに買い換えるというのも、もったいないハナシだ。それしきのことで、あんなデカいものを右から左へ動かす元気はないのである。
一方で、チマタでは薄型テレビという軽薄なテレビが高いくせにバカ売れと聞く。2万で買えるテレビに10万以上も出すのはどうなのか。なに? 地上はデジタル? 地上がデジタルになるとな? ちがう? そのうち地上波デジタルという面妖な電波に置き換わるため、今テレビを買い換えるのはムダとな? ももも。
そうなのである。こんな過渡期の状況で買い換えるのはイヤなのである。なんとか自分で修理できないものか。そう考えてしまうのは当然なのである。しかし修理をするためには、ひとつ障害がある。テレビを分解すると死ぬ場合があるらしいのである。テレビの主役であるブラウン管は非常に高い電圧を保持するため、うかつにテレビを分解して、ヘタなところに触れると、よくて「手に穴」悪くて「失明」最悪「死亡」らしいのである。うぅ、自分のシップに乗っている乗客の安全のためにハイジャック犯と刺し違えて死ぬのはともかく、自宅でテレビをイジっていて死ぬのはイヤだ。いくらなんでもそれはハズかしすぎる。末代までのハジである。
2004-12-07(Tue) ひさびさの秋葉
平日に秋葉といっても「サボったなッ!! シャアッ!!」というワケではない。またもやYRPで仕事だったのだが、いろいろあって15時ごろにキリがついてしまったのである。15時ごろにキリがついてしまったら「帰り、チョット寄ってきますか」となるのは自然のナリユキである(寄るところがフツーでない気もするが)。ちょうど購入すべき部品もたまりつつあったトコロなのだ。気がつけば、前回の秋葉はSVXで行った11月7日。奇しくもキッカリ1ヶ月である。ここに「1ヶ月の法則」の復活である。
秋月前にツタタタタっと瞬間移動。昨日述べた「テレビのバイパス手術」を行うための部品を購入だ。ステレオオーディオアンプキットとDCジャック、RCAプラグ&ジャック等を適当に購入。どんな接続にするのか、まだちゃんと考えてないので、ちゃんと考えずに適当に購入するのだ。一方で、例のコンデンサ容量計のプローブ用の部品も物色。バナナジャックを買おうと思ったが秋月には見当たらない。安いしミノ虫クリップを適当に買っておく。あとは、不足してたような気がする8pinのPICとDSUB9pinコネクタ、面白そうなSDカードスロットと傾斜スイッチ、SVXのカギの電池が切れた時のためのボタン電池も買っておく。
しかし平日の秋月はスイている。平日は店内を「フツーに歩ける」のだね、知らなかった。それから平日は「レシートか領収書必要ですか?」って店員さんが聞いてくるんだね。平日はお仕事で部品を買いに来ている人が多いってコトだな。以前にロスに行った時、シンガポール航空だと観光用入国書式が、タイ航空だと就労用入国書式が着陸前に配られたのを思い出した。暗黙の型宣言は世界のアチコチで行われているってコトだ。DEFWORKER A-Z(ふるっ!!)。
話は替わるが、秋月の店員さんっていつも紙袋に計算式をサクサクと書いて会計してくれるけど、まちがったりしないのか以前から疑問だった。ここんトコこのBlogに買い物内容を記録しているので、まちがえたりしたらスグわかるのだ。今までまちがっていたことはなかった……が、今回はハデにまちがえていたぞ。しかも計算も単価もだ。計算を200円、単価を10円、30円まちがえて、結局210円も安くしてしまっている。よって以下の表は合計が合わないが、まぁそういうこともあるってことだ。
| 秋月電子通商 | |||
|---|---|---|---|
| ステレオオーディオアンプキット | \1,000 | ||
| SDカードスロット | \150 | 2 | \300 |
| PIC12F629 | \140 | 2 | \280 |
| 傾斜スイッチ | \100 | 2 | \200 |
| DSUB 9pinオスコネクタ | \50 | 2 | \100 |
| RCAプラグ | \50 | 4 | \200 |
| ミノ虫クリップ | \20 | 4 | \80 |
| DCジャック | \30 | 2 | \60 |
| RCAジャック | \40 | 2 | \80 |
| ボタン電池CR2025 | \100 | ||
| \2,190 | |||
秋月で買えなかった部品を補完すべく、千石へ。おぉ、スピーカーコネクタが見つかるとは思わなかったな。さすが品揃えの千石。入力用のステレオミニのコードとジャック、それに座金付きのLEDも購入してしまおう。LEDは手持ちのモノを使ってもいいけど、座金付きのがキレイにケースに取り付くからね。おぉ、秋月のものより小さなミノ虫クリップだ。バナナプラグもあるな。ゲットだ。地下ではスピーカーコネクタの幅とアンプキットのデカいコンデンサの高さに見合うケースを探す。いいのがあったぞ。テレビに取り付けても目立たない黒いヤツにしておこう。
| 千石電商2F | |||
|---|---|---|---|
| スピーカーコネクタ | \380 | ||
| ステレオミニコード | \220 | ||
| ステレオミニジャック | \50 | 2 | \100 |
| ミノ虫クリップ | \20 | 2 | \40 |
| バナナプラグ | \40 | 2 | \80 |
| 座金付きLED(緑) | \90 | ||
| \910 | |||
| 千石電商B1F | |||
| ケースSW-85B(60x40x85) | \160 | ||
| ヒロセテクニカル | |||
|---|---|---|---|
| バナナプラグ | \50 | 4 | \210 |
| バナナジャック | \50 | 2 | \105 |
| \315 | |||
それはそうと、カミさんのお父さんが新しいデジカメを買ったのだが、画像の転送をするのにカードリーダが欲しいといっていたので、ついでに探してみた。松下のデジカメだということなので、SDカードリーダで間違いないだろう。これだ。780円か……まてよ、近頃のデジカメならフツーUSB転送ケーブルくらい付いているよな……ということは、イランな。それより、デスクトップPCの背面にしかUSBジャックがないとすると、オモテに出すためのUSB延長ケーブルのが必要だな。これだ。190円か……まてよ、フツー付属のUSB転送ケーブルってったってソコソコの長さがあるよな……ということは、イランな。というわけで買い物なし。
2004-12-09(Thu) ひさびさグラディウス
YRPへの出張の帰りにグラディウスするのである。最近「Namco TV Classics - Ms. Pac Man」を購入したためゼビウスがマイブームになり、秋葉のトライアミューズメントタワーまでプレイしに行ってたりしていた。しかしながらこのゲーセン、グラディウス2、3、沙羅曼蛇あたりが並んでいるのに、その脇に元祖グラディウスがないのを見てしまったからか、妙にグラディウスがプレイしたくて仕方なくなっていたのだ。
思えばグラディウスとの出会いは中学の頃だったっけか。発売から日も経って人気も一段落したころだと思う。既に一周目をクリアしている友人を師匠に、毎日1プレイずつ鍛錬の日々を過ごしたっけ。なにしろ、2面のストーンヘンジがなかなか抜けられず、3面のモアイがぜんぜん抜けられず、4面の逆火山がまったくもって抜けられなかった記憶がある。4面を抜けたら一周クリアはあっという間だった記憶もあるが。
そしていま、上野駅の近くのゲーセンで「昔取ったキネヅカ」をイザと試すのである。山手線は御徒町駅で下車、上野に向かってアメ横を通り抜け、グラディウスが置いてあったと記憶しているゲーセンを探すのだ。もー、気合十分である。ヘタすると見つからないかもしれんと思っていたのだが、意外とあっさり見つかった。よっしゃー。
よくみたら、置いてあったのは海外版のグラディウスの「ネメシス」だった。内容はあまり変わらないらしいが、下の写真に示すようにタイトル画面のバックがイメージCGになっていたり、パワーアップゲージのOPTIONがMULTIPLEになっていたり、若干難易度が高くなっているとか聞く。まぁ、大した違いではないだろう。しかしこのゲーセン、古いゲームが多いのだがレトロゲーなラインナップを狙っているのだろうか? 非常に中途半端な機種揃えである。しかも異様にコラムスの台数が多い。5台くらいある。意図不明だ。単に新しい基板を買うお金がないようにも見受けられる。まぁどうでもいいや。ガギゴギゴーン(←コイン音)。
火山。軽く空中戦をいなして、火山地帯へ。若干ハッチからの飛来物等がキツ目な気がする。面終盤で空中に浮いている岩にひっついているレーザーが速くて、ビビる。海外版だからなのかランクが高いからなのか。噴火はキッカリ全部いただく。自分のレーザーの発射タイミングが国内版より揃いやすくてやりにくかったが。
ストーンヘンジ。終盤の砲台地帯の処理を手間取っていたら、弾だらけにされて、前に出られなくなって死亡。ありょー……。これも国内版ならここまでバカスカ弾を撃たれなかった気がするけどなぁ。気を取り直し、オプションひとつでザブのラッシュを抜ける。
モアイ。海外版だからなのかしらんが、空中戦に出てくるマザーの数が多い。子供をミサイルとして使うのは虐待だぞ、とかボヤきつつ、モアイ地帯にさしかかる。昔は常に下に移動しつつ、ボッコボコにモアイを壊していた気がするが、もうオトナなので世界遺産を大事にする。
逆火山。幾度涙を飲んだかわからないステージ。このステージをダブルで抜ける人もいると思うが、私の師匠はレーザー派だったのでレーザーで進む。早め早めにハッチを壊せばそんなにコワいステージではない。最後に出てくるアイアンメイデンは……鉄の処女という意味。へ〜へ〜、30へ〜。
細胞。このステージにもダブル派がいるとおもうが、私はレーザー派。グリグリワインダーかけて腕を壊す。細胞をレーザーで焼いて縮めていって、最後に破壊するのが楽しい。肉を網で焼いて縮めていって、最後に焦がすのが……それは焼肉である。
特殊細胞。よく考えたら特殊細胞って何が特殊なんじゃろ。このステージはフル装備ならほとんど動かずしてクリアできる。最後はダブルにして、ゲージをレーザーに合わせ、ボスで稼ぐ。いつもはこんなことしないのだが、今回は師匠に敬意を表して稼ぐ。
要塞。すぐレーザーに切り替え、ゲージをシールドに合わせつつ、要塞の壁でシールドを消して、シールドを張り替える。要塞の壁に激突して死んだこともあったっけ。なつかし〜。デカい脳みそに到着、慎重に慎重を重ねて上部の線を破壊する。要塞の壁に激突して死んだこともあったっけ。なつかし〜。
2周目はストーンヘンジのザブラッシュでエンド。つーか、1周クリアでもうオナカいっぱいなんでいいんですが。そういやイキナリ5速にしてそのままラストまでという遊びもしたなぁ。あの頃は若かった……。つーわけで「昔取ったキネヅカ」は今も健在であった。このままジジイになってもやっぱりクリアできるのかどうかしらんが、それをゼヒ試してみたいので、その頃までグラディウス、沙羅曼蛇、グラディウスII、ダライアス、ニンジャウォリアーズ、バブルボブル、ファンタジーゾーン、源平討魔伝、ドラゴンスピリット、ロストワールド、ミッドナイトレジスタンス、サイオニクスオスカー、ロボコップあたりにも健在でいて欲しいものだ。地球が平和でありますように。
2004-12-10(Fri) 容量計完成、テレビ修理・前編
今日は代休をとってゆっくりしてしまう。もちろん、おいらにとって「ゆっくり」とは「ゆっくりと作業する」と同義である。ここんとこ経理やら出張やらで忙しく、工作の時間がとれないったらなかった。振り返れば、11月20日の容量計、21日の携帯電話の接着……それ以来ではないか。あー、ストレスが溜まるったらなかったよ。
とりあえず、ずーっと懸案だった容量計への脱着式プローブの取り付けを行う。昼間なので心置きなくドリルでガリガリできるのがうれしい。おー、ひさびさのルーターである。ガリガリガリガリガリガリガリガリガリガリガリっとな……たのしーッ!! 穴が開いたら、シャーシリーマで穴を広げる。バナナジャックがキッカリと入る穴を横にふたつ。よっしゃ、完璧。
前から気になっていたパネルのキズだが、なんとかゴマかそうとサンドペーパをかけてみる……ガビーン。砂場でコスッたみたいになっちまった。やべぇ。手持ちの一番細かいヤツをかけたんだけどなぁ。えーい、ままよッ!! キッチンペーパーにシンナーかけてコスリまくったれッ!! よし、ちょっと光沢がでてきた。シボ皮っぽいといえば、そんな感じだろう。とりあえず、パネルのキズは消えたし(全面キズだらけともいえるが……)。クルマ用の液体コンパウンドがあったら、再びテッカテカにできたのだろうか? そのうちやってみようかしらん。
で、先日購入したバナナジャックを取り付けつつ、コードの両端にバナナプラグとワニ口をハンダ付けする。よっしゃ、完成。以前に秋葉で格安で買ったミッキーマウスのテープライターを使い、操作パネルに注釈を入れてみる。ちょっと安っぽいが、まぁいい。よしとする。するったらする。
さて、ついでにテレビのバイパス手術用のケース加工もしてしまおう。スピーカーコネクタの取り付け場所は大穴を空けなきゃイカンのでちょっと大変だが、最近は経験値が上がってきているのでまぁ楽勝だ。例によって、基板の取り付けネジには皿ネジを使うことにし、皿ネジの埋まるテーパー加工もサクサクと行う。これだけ経験値をたまればレベルアップももうすぐだな。気分的には地下6階のクラーケンを倒せそうな手ごたえ。うほほ。ちなみに小さな部品は左から、ステレオジャック、座金付きLED(緑)、ACアダプタジャックである。
2004-12-11(Sat) テレビ修理・後編
おわッ!! びっくりしたッ!! いきなりぶっコワレたぞ。なんだよもー……。そーなのだ、100円ショップで買ったワイヤーストリッパーのアゴが突然にハズレたのだ。100円ショップの道具であるから、あまり大きな期待をせずに購入したのだが、期待に違わず非常に動きがザツで、モノとしての魅力に乏しいアイテムではあった。しかしながら、あまり気持ちはヨクないものの、結構ちゃんとコードの被覆を剥いでくれるので重宝していたのも事実であった。
あー、こりゃ直そうにも直りそうもない。アゴがハズレた状態のまま、何度かレバーを握ると、マンガのように部品やパーツの破片がボロボロとこぼれ出てくる。もともと100円だしなぁ。だが、あきらめつつも作業を進めると、必要なシチュエーションは結構多いのだ。先日購入したおいらの中では高級品の道具であるHOZANのニッパを代打に登用するも、やっぱり専用の道具であるワイヤーストリッパにはかなわない。むぅ、そろそろちゃんとしたものを買えという啓示かなぁ。
気をとりなおしてイッキに回路を組む。ちょっと配線を長めにしてしまったが、とりあえず完成。緑のLEDはキットにはなかったのだが、ちょうどいい具合に基板上から電源が取れるのでそこから取る。相手が12Vなので、12V-2V=10V、10V/10mA=1000Ωというわけで1kΩが欲しかったのだが、手元になかったので2.2kΩの抵抗器を並列にして1.1kΩを作った。適当だ。
で、動作確認だ。ケースを閉じる前に実際のテレビにつないでみる。テレビのスピーカーにつながっているスピーカーケーブルを外し、キットのスピーカーコネクタにつなぐ。ACアダプタからDCジャックに電源を供給し、テレビのヘッドフォンジャックとキットのステレオジャックをケーブルで接続する……えっ……ウンともスンともいわないんですが……なんで?
しばらくしてから気づいた。「テレビのスピーカーにつながっているスピーカーケーブルを外し、キットのスピーカーコネクタにつないで」どうするよッ!! ドアホか、オレは。気を取り直し「テレビのスピーカー出力につながっているスピーカーケーブルを外し、キットのスピーカーコネクタにつなぎ直す」おぉ!! 鳴った。今までの音と遜色ないぞ。これなら十分だ。
あとは放熱対策だ。そうなのだ、昨日のケース上面にスリットはヒートシンクを取り付けるためのスリットだったのである。このためにワザワザうまくもないシャビシャビのバドワイザーを飲んでヒートシンク用のアルミ板として温存しておいたのである。こんなもんハサミでジョキジョキだ。
というわけで、テレビに接続ッ!! なんの問題もないぞ。これにて、テレビのバイパス手術、術式完了ッ!! である。あぁ、これで耳に水が入ったかのような、気持ち悪い途切れ途切れのステレオからおサラバである。
2004-12-15(Wed) ストリッパーが欲しくて、西城秀樹を買う!?
今日は昼からYRP。サクッと仕事を終える予定だったので、帰りは秋葉の千石でワイヤーストリッパーを買ってぇ、秋月でペン形のオシロスコープを買ってぇ……とか考えていたら。にゃーんと、仕事が終わったのは17時ジャストだ。千石は19時00分、秋月は18時30分で閉店だ。急げぇ。
こんなときに限って、ちぃ〜っともコネェよ、バスッ!! でもって、やっとYRP野比駅に着いたと思ったら、ちょーど電車いっちまったよッ!! こりゃ、秋月は絶望的だなぁ、せめて千石だけでも……って、山手線が5分も停車すんな、しかも2回も……やっと着いたぁ、秋葉原ッ!! って……19時01分に着いてどーすんねんッ!!
って、沢田研二かよッ!! ふるッ!! ……というわけで、ちょっと壊れ気味になってしまった。実は明日もYRPで仕事で、しかも今日以上にサクッと終わりそうなんだが、木曜は秋月が休みなんだよな。仕方ない、千石でワイヤーストリッパーだけでも買うかな。
帰りは上野の本屋で本を物色。突然目に飛び込んできたのがハヤカワの「西条秀樹のおかげです」。なんじゃこりゃ!? パラっとめくって「そして地球人類は絶滅した」という一文をみて読んでみたくなり、帯の「日本SF大賞候補」というアオりに素直にアオられた(マルドゥックスクランブルもこれにやられたのだが……)。結局、英語リスニング入門1月号の教本と共に購入。Suicaでお支払い……って、ゲ!! 1,085円って、この文庫700円もするのかよぉ、すいよぉ、もくよぅ。帰りの電車で読んでみる。おわっ、バカでアブでエロッ!! これでは官能小説寸前ではないか。こんなの一般向けに売っていいのかよぉ、すいよぉ、もくよぅ。かなりオモシロいけど。
2004-12-16(Thu) 格安ストリッパーを買う
昨日に引き続いて、非常に誤解しやすいタイトルで攻めてみた。別にGoogleなどでの検索時に目立たそうと狙っているワケではないのだが、思わずクリックしたくなるタイトルというのは大事なのである……って狙っとるがな。
今日は昨日の予測通り、YRPでの仕事をサクッと終わったので、帰りにワイヤーストリッパーを購入しに秋葉に来たのであった。先日書いたように100円ショップのワイヤーストリッパーはちゃんと仕事をするものの、動きが渋く、しばらくしたらバラバラに壊れてしまったこともあり、著しく道具としての魅力に欠ける製品だったので、もう二度と買いたくはない。だから今回狙うのはハンダゴテで有名なgootの製品なのである。
実はこの時、YRPで一緒に仕事をした後、一緒に引き上げてきた親分と秋葉まで来ていたのであった。お互い興味のあるジャンルが違うのでラジオデパート付近で別れたのだが、直後に「300円であったぞぉ〜」と親分が叫ぶではないか。なに!? んなこといったって、100円ショップの製品はもう買いたくないんだけどなぁ……って、ココは浜田電機!? あ、確かに300円で売ってるわ。刃先の食い込みの調整ネジも付いているし、色合いもgootの製品と同じだな……。そんなに品質も悪くなさそうだ。えーい、お買い上げしてしまえッ!!
その後いつものヒロセテクニカルに行き、念のためgootの製品と見比べてみた……同じだ。どう考えても同じ型から作っているとしか思えない部品である。握りの部品の形状も、リベットの位置までも同じ。もしかしたらOEMなんだろうか。しかしコッチは300円だ。マルマル1,500円浮いてしまったぞ、ヤフゥー。
| 浜田電機 | |||
|---|---|---|---|
| ワイヤーストリッパー | \300 | ||
せっかく来たのに買い物が300円で終わるのもなんだか嬉し悲しいので、千石も回ってみる。千石の横のケーブルがゴチャゴチャ置いてある店も、実は千石だったことに初めて気づく。2号店も含めて3軒横並びだったんだ。儲かってまんな〜、ボチボチでんな〜。で、次のプロジェクトであるドア開閉センサーのための長〜くて細〜いケーブルを探してみた。どうもモジュラーケーブルがちょうどいい感じ。最近は需要がないためだろうが20mで260円と格安だ。ついでに、本店のB1Fで高目の抵抗を買い足しておく。ほくほく。
| 千石電商 | |||
|---|---|---|---|
| モジュラーケーブル | \260 | ||
| 1kΩ抵抗器 | x100 | \100 | |
| 33kΩ抵抗器 | x100 | \100 | |
| 100kΩ抵抗器 | x100 | \100 | |
| \560 | |||
向かいのあぷあぷという店のジャンク箱に懐かしいアイテムを見つけた。なんと2400bpsのモデムだ。昔X68000を使っていた頃、まさにコレでニフティに接続していた記憶がある。100円なので購入。いやモデムとして利用するんじゃなくて、同梱のACアダプタや、RS232Cケーブル、ちょうどいいサイズの本体ケースやモジュラージャックが再利用できそうな感じだからだ。いわば部品取り用にちょうどよさそうなのだ……んが、レジに行って驚いた。300円って値札が貼ってある。「あれ? 100円のジャンク箱に入ってたんですけど」「ちょっとお待ちください」(300円ならイランぞ)「100円でいいです」「そんならお願いします」……チーン。
| あぷあぷ | |||
|---|---|---|---|
| ジャンク2400bpsモデム | \100 | ||
秋月は休みだし、もう行くところがないな……というところで、ふと日米通商というジャンク屋の存在を思い出した。先日インターネットで存在を知ったのだが、行ったことはない。くわしい場所は確認してなかったのだが……あったよ。おぉ、これはすごい。フツーの部品も売ってるじゃん。うゎ、100本組みの抵抗器の小袋がデカい箱に無造作に放り込んであって50円だ。秋月や千石の半額だし。ココで買えばよかった。奥のコンデンサコーナなんて電解が10本組みテープでどれも100円だ。うれしくなって思わずあちらこちらをチェックしてしまう。なんじゃこりゃ、電動のドラムカウンタか? いや、手動の入力スイッチだな。オモシロそう。お買い上げじゃ。わぉ、お気に入りのアナログメータだ。こギレイなのに210円とな? これもお買い上げじゃ。
| 日米商事 | |||
|---|---|---|---|
| ドラムスイッチ | \105 | ||
| アナログメータ | \210 | x2 | \420 |
| \525 | |||
例によってトライアミューズメントタワーでちょっとゲーム。最新シューティングの「蟲姫さま」というのを試す……んが、コレ楽しいのか? 最近の弾幕シューティングってゼンゼン楽しいと思わないな。作業のように異様に単調だし。敵を倒すとこっちに金塊が飛んできて自動回収されたり、中型敵を倒すとその敵の弾が消滅したりするんだが、その必要性も不明。画面がゴチャゴチャするだけじゃん。ひさびさにグラIIやってみたけど、やっぱりこっちのが圧倒的に面白い(高速ステージで終わっちまったけど)。基本的にボンバーのあるゲームは嫌いなんだよな。危なくなったらボンバーで解決しろって、難易度調整の放棄だし、借金した挙句の自己破産みたいじゃねぇか。
2004-12-17(Fri) オシロ入手ッ!!
夕方、職場の売店でちらっとトラ技をチェックしたら特集が「すぐに使えるUSBデバイス&応用」ということで思わず買ってしまった。毎月かなりの精度でカユいトコロを直撃の記事は見事だ。やっぱりUSBはコンビニエントなのである。シリアルポートみたいに簡単に使いたいのである。そして特集も「シリアルポートみたいに簡単に使いたい」方面に突っ走っている。うぅむ、素晴らしい企画力。
しかしながら、読んでいると確かに簡単に使えそうな気もするのだが、やっぱり敷居は高いのである。政治的には「秋月が石を扱っていない」技術的には「石のピン間が0.5mm」財政的には「値段が高い」のである。如何に本を読んで知識を蓄えようと、こういう周辺環境ばかりはどうにもならないのだ。早い話、秋月でDIPパッケージを300円で扱えば万事解決なのであるが、現在のところそういう状況ではない。しかしながらトラ技と秋月はタッグで素人電子工作の屋台骨を担っている(と思う)のだからして、こういう方向性の気運が高まれば近いうちに期待できる状況になると思いたい。
帰宅してワクワクしながら待っていると「ピンポーン、佐川急便です、夜分遅くすみません」というわけだ。そう、一昨日に秋月に注文したペン型オシロスコープ「osziFox」が到着したのである。いやぁぜんぜん夜分遅くすみませくないぞ。22時以降を指定したのはコッチなのだからして。佐川はスゴいねぇ。
うひょー、異様に小型のパッケージである。写真にCD-ROMが写っているが実はコレは8cmCDなのだ。オシロ本体にあまり高級感はないが、こんなもんに高級感を求めてどうする。ちゃんと性能を発揮すればそれでよい。しかし紙のマニュアルなしというのもどうだろう。CD-ROMの中にPDF形式で入っているかと思えば見当たらない。オシロのアプリ(このosziFOXは本体の液晶画面でも波形が見えるが、PCの画面で波形を見るのが本筋)をインストールしたら、その時点でPDFが展開された。んなもん、ルートにも置いておけや。
まぁマニュアルが英語というのはいいとしても、PDFは「両面印刷して中綴じ」すると本になるというスタイルになっている。つまりフツーに見るとページがバラバラだ。どーもあちこちに配慮が足りないなぁ。ドイツ人てこんなアバウトだっけ? とりあえず「CAUTION」だけ拾い読みしてテレビのイヤホン出力に当ててみた。
オシロ初体験なのでサンプリング間隔に設定に関する感覚がないのでアレコレ試行錯誤してしまったが、音声信号を確認するブンには意外なほどサンプリング感覚を粗くしなければイカンのね。つまり如何に安物オシロといえど適当に音声信号のクネクネを見るブンには、最高分解性能は必要ないということ。おぉ!! あこがれのクネクネ信号だ。ついでに以前PCの電源にムリムリ使っていた古いトランスを持ち出してAC100Vの50Hzを確認してしまう。うひゃー楽しい。これから使いでがありそうなツールである。うほほ。
あ、そうそう。昨日のワイヤーストリッパの話にタイミングを合わせるようにインプレスのケータイWatchが100円ショップのソレを取り上げている。確かに100円で買えるのは嬉しいのだが、アレには100円を上回る価値はなかろう。さぁワイヤーストリッパが欲しい人は、浜田電器へ急げッ!!
2004-12-18(Sat) アンプや電波やなにしろ勉強
以前からオイラが工作で試してみたいことのひとつに「無線通信」がある。ヒトクチに無線通信といっても、赤外線、超音波、電波などがあるのだが、既に赤外線は使えるようになっているので次のターゲットは電波なのである。電波は赤外線と違い指向性がないし、金属以外は透過するので機器間の通信手段として非常にコンビニエントなのである。先日アンプキットを組んだことだし、昨日オシロを入手したことだし、これからは「交流で電波する時代!!」なのだ(?)。でもって参考図書を探しに図書館に行くのであった。
すっかり返却期限を過ぎてしまっていて毎度反省なのだが、4冊の本を借りる。しかし不思議なものだ。以前は電子工作に関する図書など私の世界には存在すらしなかったのに、ちょっと興味を持ち始めると図書館の一部の本棚が急に輝きだすのだ。初めて車の購入に至った時もホームセンターのカー用品コーナが輝きだしたし、鉄塔に興味を持ち始めたらそこいら中の鉄塔が輝きだすし、SVXを買ったら街中のスバルの車やディーラーが輝きだした記憶がある。そのうち子供でもできたら赤ちゃん本舗が輝きだすのだろうか?
とか考えつつ、図書館の近所の公園をブラつきつつ、スナック菓子のカールなんぞをつまみつつ、ノラネコの写真を撮ったりする。コイツら以前に桟橋の下で猫団子になっていたトリオではないか。仲よきことは美しきかな。
2004-12-19(Sun) オシロ発動ッ!!
……とか景気いいタイトルをつけつつ、まずは地味な話題から。ずっと前からやりたかった玄関ドア開閉センサのための部品サルベージを行うのだ。相手は最近100円ショップで売っているドア開閉アラームだ。このアイテムは内部に磁石に反応するスイッチを内蔵しているのでソレを取り出す。こういう磁気に反応して導通するスイッチはアレコレ便利そうだが、あまり部品といて売っているのを見かけないな。なんでだろうか?
非常に安っぽいものの、部品をバラすと100円以上の価値はある感じ。なにしろボタン電池のLR44が3つも入っているのだ。LR44といえば思い出すのがゲームウォッチ。シンプルだけどアレには燃えたねぇ。しかしながらこの電池、カタカナで「ウオツチ・セル」と書いてあるのが不安を誘う……ま、ちゃんと1.5Vの出力を確保しているし、別にいいのだが。
トランジスタと抵抗器がいくつか載っていたが破棄。基本的には磁気スイッチと、スライドスイッチ、LR44x3を収穫とする。磁気スイッチはハンダ吸い取り線を利用して取り外したのだが、熱を加えると磁力が衰えるらしく、取り外し直後は稼動しなかったが、冷えたら元に戻った。はー、びっくりした。
そんなこんなでオシロを試すのである。例の「SHAKEN YOU UP!!」のPICのクロックに当ててみると……ちゃんと周波数が計測できるではないか。やっほぉ。一方でマニュアルだが、英文の上に変態ページ配列のPDFではディスプレイ上で読む気がしないので印刷してみた。チト裏写りがヒドいが、まぁ読める。うーむ、またここで翻訳大会でもやろうかしらん。そこまでムズかしいワケでもないのだが。
ちなみにこのosziFOX、秋月からはオマケとしてACアダプタをくれる……って、コレはこないだ作った容量計のオマケと同じ「クリアベール専用」の巨大な白いブツではないか。しかもこっちはジャックがブツンと切り取られており、適合するジャックが添えられている。うぅむ、ワイルドである。あたしゃ秋月謹製の小型ACアダプタを持っているのでそっちを使うのだが。
2004-12-21(Tue) マウス、ジャブジャブ
とーとつだが、オイラはほんの少しだが料理する。ま、料理といっても概ね「1パスか2パス」で終わる程度のものがほとんどではある。うどんを「茹でる」とか、スパゲティを「茹でて、絡める」という程度だ。しかし、うどんやスパゲティはコシや歯ごたえが命。茹で加減には秒単位でコダわっている。反面、ツユや具にはぜ〜んぜんコダわらない。
そんな私であるから、料理法は「ID野球」ならぬ「ID料理」を実践している。「Information & Data」つまり情報と事実に基づいた理論的な料理法である。そしてその適用の一例を以下の温泉タマゴで示そう。
温泉タマゴの理論とは「特定の温度では黄身は白身より早く凝固する」である。よって「特定の温度を与え続ける」必要があるわけだ。しかしそんなことはサーモスタットでも使わない限り難しい。最近ハード系に興味を持っているオイラにはうってつけのテーマではあるが、そんな面倒なコトせずに作りたい。よって「特定の温度を与続ける」を「特定の温度を作り出し、長時間保温する」という方法にスリかえ妥協するのである。
ここで問題になるのが「特定の熱を作り出す」というトコロ。温度計で測るなんて面倒クセーのである。そこで1年を通じて簡単に作り出せる温度からその特定の温度を作り出すのだ。わかりやすくいうと「沸点である100度」と「冷蔵庫の温度」から作り出すのである。そしてその双温度を特定の温度に釣り合わせるためのパラメータは「タマゴの数と大きさ」「沸騰した湯の量」である。タマゴの大きさは概ね同じであり、数は3つだと固定すると「タマゴの固まり加減」は「沸騰した湯の量」との線形関係としてまとめることができるのである。
あとは残りの「長時間保温する」という条件を整えるのだ。夏と冬では室温が異なるが、この影響を最小限にするため、木製のダイニングテーブルの上に木製の鍋敷きを置き、その上にプラスチック製の保温性能が高い容器を配置。朝にセッティングを決めて夜まで放置する。これでデキたのが上記の温泉タマゴである。完璧なデキだ。
以上のことから我が家は「冷蔵庫から出したての3つのタマゴに沸騰した湯を750mlを注ぐ」というレシピを完成している。保温容器や周辺環境の違いは誤差となるため、マネする人は上記の計算方法を考慮の上、考慮の上、熟慮の上、試行錯誤して欲しい。できれば、タマゴの比熱から湯の量を求めたり、保温容器の熱抵抗を考慮するとよりアレゲである。
最後に、直接タマゴに熱湯をかけるとヒビ割れを生じやすい、デキ上がった温泉タマゴは生タマゴと区別するためにキン肉マンの顔を書いておくとよい、温泉タマゴを食す際には醤油より原液の白ダシがよい、という重大な助言を与えておこう。ではまた。
……と、思わず温泉タマゴで終わってしまうところであったが、今日はもうひとつネタがあるのである。先日のキーボード洗いの続編ではないが、今度はマウスを洗うのである。
このマウス、かなり以前にデスクトップ機を使っている時に愛用していたのだが、デスクノートであるジャンクメビウスを主力にしてから、ずーっと放りっぱなしであった。なにせ、レシーバがデカすぎてノートには不釣合いなのである。
しかしながら、私の好みであるボールマウスであるし、なにせ当時7,000円近く出して購入した記憶があるLogitechブランドの高級マウスだ。先日のワイヤレスマウス修理の際に職場のデスクトップPCのマウスからホイールのエンコーダパーツを抜いてから使い勝手が悪くてかなわないので(←アタリマエだっつーの)このマウスを復活させるのである。
お約束のバラしである。確かに7,000円するだけあって、スゴイ部品数だ。ホイールも光学エンコーダだし、安物のマウスによくある片持ち構造ではなく、しなやかに垂直に下りるバネ形式になっている。基板も3枚に分かれている。このヘンがボールマウスが敬遠されつつあり、光学マウスが主流になりつつある理由なのだろうな。ボールマウスだとマウスの形状からして1枚基板で作ることは難しいのだ。
両脇のゴムの部品には手垢がネッチョリと付いているので、CD-Rのスピンドルケースのフタに部品をまとめて突っ込んでボディソープでガラガラと洗う。ホテルYRPで温存しておいた安物の歯ブラシの出番だ。ガシガシとコスる。気の済むまでコスったら、キッチンペーパの上で乾かす。気の短いオイラはカメラに使うエアーブロワーで水気を吹っ飛ばす。気の長い人はちゃんと乾くまで待とう。
2004-12-22(Wed) 目覚し時計をハックする
この目覚まし時計は実はかなり古いものである。購入してから15年くらいになるだろうか。というのも、買った動機があまりにアホなので覚えているのである。当時、オイラは高岡早紀のファンであり、彼女はシチズンのCMに出ていた。で、時計を買うとポスターがもらえるというキャンペーンをやっていたので、ちょうと目覚まし時計が壊れていたこともあり、購入したのである(ポスターを?)。
ポスターはかなり長らく貼り続けていたので、捨ててしまった後も図案をハッキリ覚えているのだが、Googleのイメージ検索をしても出てこなかった。出てくるのはロクでもない写真ばかり。あのロクでもない写真集を出したあたりでかなり幻滅してしまったコトをマザマザと思い出す。まぁ、今となってはどうでもいいコトだが。
さてこの時計、なんと音声のアラーム音を発する。すがすがしい鳥のサエズリとともにちょっと鼻づまりの女性の声で「おきなさい朝ですよ」というのだ。比較的音量も大きいため、寝ぼけて止めてしまわない限りちゃんと起きられる。一時期ジージーという音を発したので壊れてしまったかと思ったが、電池の消耗による症状であった。発生する予兆もあるので、とても良い信頼性の高い目覚まし時計であると思う。
で、とりあえずバラしてみる。中身はシンプルそのもの。時計のモジュールと、音声を発するための基盤が1枚、デカ目のスピーカー、テッペンのアラームオンオフスイッチと、スライドスイッチが2個。スライドスイッチは「アラーム音のモニター用」と「アラーム音の音量の大小」だ。これまたなかなかニクい機能である。
基盤のアップだ。おそらく左のICが音声関連、右のICがアンプであろうと思われる。時刻関連の制御は時計のモジュールが担っており、左側の線をグランドに落とすとアラーム音が鳴るという仕組みだ。なお、これらはすべて表側のパーツに取り付けられており、裏側のパーツにスピーカーがネジで止めてある状態だ。よってスピーカーを外すと裏のパーツはプラだけになる。ホコリだらけなのは主に裏のパーツなので、ジャブジャブ洗ってキレイにしてみた。
と、これだけだとあまり面白くないので、ちょっとイタズラしてみた。9pinDINコネクタを取り付けてみたのだ。ドリルで5箇所ほど穴を開けてニッパで台形につなぎ、ヤスリでゴリゴリ。コネクタが収まる大きさになったら、両脇にネジ穴を空けてネジ止め。なんともアレゲなニオイがタダヨってきたぞ。うひゃひゃひゃ。
2004-12-23(Thu) ツーカーSに学ぶ
最近話題の「マニュアルがない」が売りの携帯電話「ツーカーS」である。実際には1枚ペラのマニュアルが添付されているらしいので、思い切りウソ広告をしている気もする。んが、それはこのプロダクトの素晴らしさを微塵も傷つけるものではないだろう(個人的には箱の裏の記述だけで済ませてもらいたかった気もするが)。実際この電話、お年寄りにオオウケだそうだ。
しかし逆に考えると、こういう思い切ったプロダクトがウケるということが、なぜこんなにも長いあいだ気づかれなかったのだろうかとも思う。まったくもって不思議である。「ツーカーS」の開発者を貶めるつもりはないが、こんなの誰でも気づきそうなプロダクトではないか。
で、思いついたのが、昨日の目覚まし時計を利用した「ビデオ録画システム」である。そう目覚まし時計は「時刻を刻んだり、指定の時刻になにかやらせるという意味では、単機能ながらPCなどより圧倒的に先輩」なのである。これを使わずしてどうするよ。
似たようなトコロを狙ったプロダクトとして「Gコード」がある。確かに「Gコード」も素晴らしいが、あれは紙面に余計な情報を加えねばならないという意味であまり面白くないのだ(それがロイヤリティにつながるというビジネスモデルかもしれんが)。
一方でこれを目覚まし時計にやらせた場合の利点と欠点を考える。圧倒的な利点は「直感的なインターフェイス」である。ビデオの予約録画ができないお年寄りはゴマンといるだろうが、目覚まし時計が使えないというお年よりは聞いたことがない。これに関しては「Gコード」よりも圧倒的に優れている。
ただし一方で「開始時間しか設定できない」という問題もある。そこでこないだ日米通商で買ってきたドラムスイッチの出番である。目覚まし時計の裏にこれをいくつか並べ、録画時間と録画チャンネルを設定できるようにするのだ。これなら単純明快で間違うことはありえないだろう。完璧だ。
2004-12-24(Fri) どんなアクロバットか爆速起動……しかし
それはそうと、以前にPDFのビュアーであるAcrobatReaderについて書いた。主な論点は「起動するだけで数十秒って、何の権利があって貴重な私の時間を消費するんだ」と「紙の概念を何の考えもナシに画面に持ち込んでいるダケじゃねーか」ということである。
いや、上のコメントは怒り半分、嬉しさ半分である。基本的に、バージョンアップを重ねるにつれて遅くなるのはドアホのやることだと思っている。バージョンアップとはいえ、ソフトの基本機能が変わるわけじゃないのだ。せめて前バージョンと同じような速度で動くのは、法律として制定してもらいたいくらいである。
しかし速くなって文句を言うわけではないが、いくらなんでも「速すぎる」ぞ。特に2度目の起動の速さときたらサギレベルである。むー、どんなマジックを使っているのであろうか? ウワサによると爆速起動を担うミドルウェアにはスパイウェア疑いがあるという話も聞くがホントだろうか? むー、今のところ便利に使えてはいるが若干引っかかるトコロではある。
それはそうと、高速化についてはそれでもいいが「紙の概念を何の考えもナシに画面に持ち込んでいるダケじゃねーか」ということについてはナニも変わってはいない。この点についてはPDFのデータの都合上、どーにも改善できないのであろうか? というか、そもそもナゼオイラは「紙の概念」が不便だと思うのか? この点についてもう少し掘り下げてみると意外なコトに気づいた。それは「ページを開いたまま次のページが見られない」ということである。つまり「紙の概念」というよりは「冊子の概念」であることが、使い勝手の悪さを助長しているということだ。
これを解決する方法は単純で「ウィンドウ内ウィンドウ」をヤメればよい。こんなのイマドキ流行らないっつーの。エクセルだってワードだって、いつの間にかヤメているのだ。そもそも、このワケのワカらん概念は初期のウィンドウズの仕様を引きずっているだけなのだろ? まったくアホくさい。頼むから、同じ文書だろうがジャカスカと別ウィンドウで開いちゃってくれ。
いっそ「しおりアイコン」をデスクトップ上に置けるようにするというのはどうだろうか? PDF内の特定のページへのショートカットのようなものである。それを実行することで即座に特定のページが別ウィンドウとして開く。既にそのページが開いている場合には「それをアクティブにする」という動作でもよいだろう。「しおりアイコン」の操作方法としては「ページをつかんでデスクトップにドラッグ」で決まりだ(もしやデキるかも!?と思いやってみたがやっぱりダメだった)。これにより「冊子の概念」は「バインダに綴じられたマニュアルの概念」へと昇華するのである。
2004-12-25(Sat) ゴロゴロゴロゴロ、塊魂、ゴロゴロゴロゴロ
最近のソフトときたら、むやみに高い。高い理由はいろいろ考えられるが、主にCGとか画面の見てくれに関する部分に異様に金をつぎ込んでいるのだろう。確かにリアリティとか雰囲気とか、そういう部分も重要ではあるからそこに金をつぎ込んで「どうだ!」というソフトも否定はしない。否定はしないが、それは逆にプレイヤー側にそこに金を出す価値を認めさせるかどうかということでもあると思う。まぁ個人的には「グランツーリスモ」には出してもいいと思うが「メタルギア」には出したいと思わないなぁ。個人的な意見ではあるが、端的に言えば「3DCGでキレイな画面が出せるようになったからといって、ゲームの根本であるゲーム性をおろそかにしないで欲しい」という一般的に言われている苦言と根底は同じコト。もっと簡単に言えば「昔のファミコンゲームのがオモシロかったよね」である。オイラが秋葉のトライアミューズメントタワーでレトロゲーばかりしているのも似たような理由だ。
2004-12-26(Sun) 目覚まし時計をリバースエンジニアリングする
先日バラした目覚まし時計だが、コネクタへの配線をどうしようか考えている。せっかくならできるだけ様々な機能を実現できるように、外部からいろいろな制御ができ、外部へいろいろな情報をもたらす、自由度の高いコネクタに仕上げたいのだ。
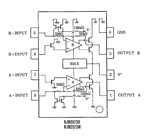
結局、制御基盤とニラメッコしつつ、回路図を起こすことにした。カッコよくいえばリバースエンジニアリングである。こんな簡単な回路でリバースエンジニアリングもクソもない気もするが、なにしろ黙々と回路を追い、1時間ほどで回路図を起こすことができた。概ね想像したとおり、左のチップが音声信号を発し、右のチップはアンプらしい。アンプにはJRCの2073Dと書いてあるので、すかさずググってどんな働きをする石なのか調べてみるコトにする。
しかしながら出てこない。製造元のJRCのページからNJMのページに飛んで、データシートのページを探しても型番が出てこない。ディスコンのページまで行っても出てこない。なんでじゃ? なんかの不都合で闇に葬られたチップなんか? 一般のユーザのページで「一般的な2回路入りオペアンプ」という情報までは挙がっているのだぞ。いかんせん各足の役割まではわからないが。
結局、海外のサイトをいくつか経由して「DataSheetArchive.com」というデータシート集のサイトに行き着いた。スゲーじゃんこのサイト。データシートならなんでも揃っていそうな雰囲気だ。こういう便利なサイトを発見すると、インターネットのなかった時代にはどうやって仕事していたのか不思議に思えるほどだ。
当然ながらデータシートのPDFには各足の役割がバッチリ示してある。ふふーん。先日オイラは秋月のアンプキットを組んでいるからな、オペアンプの使い方ならもうバッチリ……って、なんですか!? コレは!? 2回路入りのオペアンプのハズなのに、スピーカーが両回路の出力にマタガってつながれているぞ。何度確認しても回路図の起こし間違いではない。なんでこんな結線で動くんだ? これはシチズンのエンジニアのスーパーテクニックなのか? どひょ〜。
しばらくして気がついた。もしかしたらデータシートに適応例として載っているのではないかと……ほらビンゴだ。データシートの後ろの方にまったく同じ結線方法が載っていた。2回路入りのオペアンプを使ってモノラルを増幅する場合はこういう使い方もありなのか。確かにステレオとして使うよりも倍近い出力が得られるような記述がある。原理はよくわからんが、マイナス側を逆位相に駆動して出力を稼いでいるような雰囲気の回路だ。最近のカーステでも1DINで高出力のものはそんなコトしてるようなコト書いてあった気がするなぁ。すると先日の秋月のTA8207Kも2回路入りなのだが、同じように結線すれば使えるのだろうか? TA8207Kのデータシートにはそんな適用例はなかったような気がするが。
2004-12-27(Mon) OsakaのカタチをWinで打つ
発端はディスプレイだった。数年前VAIOコンポ同梱の15インチディスプレイの調子が悪くなり、ナナオの17インチに買い換えた時のこと。PCのディスプレイというのは目との距離が近いこともあり、15インチから17インチに替えた場合に体感した変化はカナリのモノであったことを記憶している。この17インチはナナオのディスプレイの中では月並みな製品ではあったが、かなり高い解像度(1600x1200)まで対応していた。
オイラは昔から「解像度は高ければ高いほどよいんじゃ政党所属」である。同じディスプレイ設定のままで解像度を上げれば、当然字が小さくなるのだが、それは字のフォントサイズを大きくすればよいのだ。それによってドットのガタガタ(ジャギー)のない美しいフォントが得られる。その為にはX68の頃から裏技使って無理矢理1024x768にして24kHzのチカチカディスプレイを常用するのも厭わないオイラなのである。
次期Windowsでは画面の描画を完全にスケーラブルにするらしいが、正直対応が「遅すぎる」と思う。別にオイラはアンチマイクロソフトではないが、せめてXPの世代で対応するべきだったと「痛烈に」思う。グラフィックボードや液晶ディスプレイなど、ハードウェア的な有効解像度の方が先行した形となっている現状はあまりに恥ずかしいではないか。私は現在も233MHzのジャンクノートでWin2kを使い続けているが、描画の完全スケーラブルがXPのウリだったのなら、私はOSもPCも買い換えていたかもしれない。かもしれないったら、かもしれない。
脱線したが解像度を高くすると困るのが端末画面である。端末画面というのはTERATERMなどのターミナルアプリのことだ。オイラの場合、プログラミングはほとんどTERATERMで自宅サーバにアクセスしてその上で行うか、TERATERMでローカルのcygwinにアクセスしてその上で行う。どっちにしろ環境はTERATERM+エディタなのである。すると重要なのはフォントなのだ。美しく、視認性が高く、読みやすくなくてはならない。そしてできれば「0」の真ん中にはやっぱり斜線が欲しいのである。欲しいったら欲しい。
そしてフォント難民としてネットの大海を彷徨っているうちに見つけたのが「Macの見やすいOsakaフォントをWinで使おうプロジェクト」なのである(当時はこんなにリッパなサイトではなかったが)。
実はオイラ、VAIOを買う前はMacユーザであった。最後の68マックのPowerBook550cで3DCGをやっていたのである(この時の作品は今も宮殿に置いてある)。思い返せば、確かにOsakaフォントは読みやすかった。そういえば「0」の真ん中に斜線もあった気がする。
抜く手を見せずにOsakaを落としてきて使ってみた……美しい……やっぱりキレイである。感動したのでTERATERMに続いて、エディタにも採用、ブラウザにもスタイルシートを仕掛けてありとあらゆるフォントをOsakaにしまくった。そりゃもーチョーお気に入りってなもんである。美しいOsakaに目が慣れた後、うかつにMS UI Gothicなんぞを見てしまうと「毛深くて」目からスネ毛がモジャモジャと生えてきそうで、MS UI Gothicは心底嫌いになった。
しかしながら若干の不満もあった。上記のプロジェクトでは基本的にOsaka内の「ビットマップフォント」が美しいという意見が大勢を占めていたのである。オイラは「ディスプレイの解像度はギリギリまで上げたれ原理主義者」であるからちょっとボケ気味の「アウトラインフォント」のが美しいと感じるのである。これはオイラが長時間眺める端末画面を少しでも目に優しくしようと、プラズマディスプレイ風の黒バック+オレンジにし、輝度をギリギリまで落としている環境であるからという理由もあるだろう。
だが上記の理由からダウンロードできるOsakaは、フォントサイズによってビットマップだったり、アウトラインだったり勝手に変化する(というか、できるだけビットマップを出そうとする)設定になってしまっている。そのため、ある状況でちょうどイイと思えるサイズがビットマップに当たってしまったりすると、オイラ的にはウギギとウナってしまうのである。そしてつい最近、職場のディスプレイがXGAに揃えられてしまった。今まで1280x960で使っていたTERATERMを1024x768で表示するとデカすぎるのだ。そして悪いことにフォントを小さく設定すると、ちょうどビットマップに当たってしまうのであったぁ〜、どうするぅ〜、ベベンベンベンベン。
結局、散々試行錯誤してなんとか解決することができた。TTFSDKとTTFMODを使ってビットマップフォントを使わない設定のOsaka、人呼んでShinosk(新大阪)を作ってしまうのである。作業順はざっと以下のとおりだ。
unzip Osaka.zip
unzip TTSDK.zip
unzip TTFMOD-0.0.2.zip
ttc/breakttc Osaka.ttc
./ttfmod font00.ttf
./ttfmod font01.ttf
./ttfmod font02.ttf
ttc\makettc Shinosk.ttc font00.ttf font01.ttf font02.ttf
2004-12-28(Tue) コロがしたい、マキこみたい
先日かきかけのまま放置してある塊魂のレビューだが、なにしろこのゲームは「人間の爽快感を刺激してくるゲーム」であるとまとめたい。少なからずゲームにはそういう面がある。シューティングの破壊衝動、インベーダやパックマンの掃除感覚、テトリスの整理整頓。しかし、このゲームの面白いトコロは敵を「制限時間」のみに絞って徹底的にゲーム性を排除し、他のゲームにはない爽快感を持たせている点であろう。つまり「人間の爽快感を刺激してくる『だけの』ゲーム」ということだ。
結果、この類のゲームの最大の勲章であると私が考える「普段の生活へのオーバーラップ」現象を勝ち得ている。街を歩いているだけで「転がしたく」なって「巻き込みたく」なってくるのである。今まで私からこの「普段の生活へのオーバーラップ」現象を勝ち得たゲームは「テトリス」ぐらいか。ビルの窓など格子状のモノを見たりすると頭の中にブロックが降り始める病気には、かなり長い期間に及んで悩まされたものである。
そして今は「塊魂」だ。そして私的にかなり転がしたい場所、それはズバリ「秋葉」である。あれだけゴチャゴチャした場所を転がしたらさぞ爽快であろう。駅前から路上の吸殻等を巻き込みつつラジオセンターへ。細かいチップ等をワシワシと巻き込みつつ抜け、信号を渡ってラジオデパートの中へ。この頃には大きめのトランスまで巻き込める大きさに成長しているハズだ。向かいのオモチャ屋もひと転がししておくか。あとは順当にノートPC、デスクトップPC、ディスプレイの順で巻き込む大きさを増していったら、次のターゲットはヲタク達。浜田電気から、ヒロセテクニカル、秋月、鈴商と抜けながらオタクを一網打尽にすれば、路肩のバイクを巻き込めるサイズに成長しているはず。あとは道路上のクルマを巻き込みつつ、右回りで山手線方面に向かい、小さな店舗を巻き込みつつ、トライアミューズメントタワーを巻き込めないまでもひと揺らし。目抜き通りに戻って小さな店舗を一掃してから、ツクモの黒いビル、秋葉原駅を巻き込んで、タイムアップである。やっふー。
と、ここで思った。このゲームをトラックボール対応にしてはどうだろうか? 転がすスピードを変化できれば、それを活かしたゲーム性を追加することもできる(このゲームの場合ゲーム性を低く保つことで一般受けを狙っている面があることもわかっているが、テクニカルな要素を追加することでゲーム好きを満足させる方向性に進むのも間違いではないだろう)。後楽園遊園地を転がして勢いをつけてジェットコースターのコースからマーブルマッドネスのようにジャンプ!! ところが、落ちたところはK1を興行中の埼玉スーパーアリーナ!! それじゃマーブルマッチョネスやがなッ!? 国技館に落ちればマーブルファットネスかいッ!! ……お後がよろしいようで。
2004-12-29(Wed) 東京ミレナリオ、ミレナイヨ
年の瀬の恒例行事となりつつある「東京ミレナリオ」を見に行く。カミさんはオイラより1日休みが遅いので、仕事が終わったあたりで都内で合流する予定。よって当然(!?)、秋葉で買い物をする時間を確保するオイラである。
……が!! なんか雪がガッツリと降ってるんですが……見事なまでの雪景色。駅なんか「A列車で行こう」シリーズの冬景色そのままになっております……などと考えるオイラはオカシな人なのだろうか。そういえば、あのゲームは雪で列車が遅延したりする要素はなかったなぁ。今日の常磐線は大丈夫なのだろうか。
などという心配をよそに、順調に秋葉原へ。最近はそんなに買うものはないので、例によって買い物はちょっぴり。サクサク終わらせ、カミさんと合流「クアアイナ」というハワイ系ハンバーガ屋に向かう。このハンバーガ屋、ハンバーガといえどファーストフードではなくて結構シッカリと食わせてくれる。肉もガツーンとマッシブでウマい。ポテトもサクサクである。値段も倍ぐらいするのでマメには行けないのだが、ま、それはそうクリスマスということで。
で、地下鉄の改札を出たあたりでイキナリ「今日のミレナリオは荒天のため中止」という張り紙を発見。ガガーン。中止かよー、すいよー、もくよー……。それほど気合を入れているワケでもないので、それほどショックではないのだが、せっかくきたのにそりゃないべ。すっかり雪も上がっているし、観に来たっぽい人々も結構いるのだが、中止は中止。しかたなく、適当にデジカメで写真を撮る。
しかしこのミレナリオ、毎年同じようなイベントでよいのだろうか? オイラ的には、音楽にあわせて点滅したり、電球が部分的に動いたり、すべてLEDにしてみたり……という様な変化を求めてしまうのですが。毎年そんなうすっぺらなイベントでいいのかッ!?
| 秋月電子通商 | |||
|---|---|---|---|
| シリアルEEPROM AT24C1024 | \700 | x2 | \1,400 |
| シリアルEEPROM AT24C256 | \160 | x2 | \320 |
| 単3x4電池ホルダ | \150 | ||
| 携帯電話用イヤホンマイク | \100 | ||
| トライアック万能調光器キット(35A) | \1,000 | ||
| \2,970 | |||
2004-12-30(Thu) 「Shaken you up!!」α版完成
遅々として進まなかった「Shaken you up!!」であるが、ようやくα版完成とする。とりあえずロジックが全部入ったというレベルであるから、細かい不具合……というよりは大まかい不具合も満載だ。とりあえずそれをフィックスしてβ版とし、自分で数週間使ってから完成版とする予定。とりあえずアーカイブを置いておこう。
そんなこんなで、年の瀬の買い物である。といっても、大晦日の晩はカミさんの実家にお世話になる予定であるからたいしたモノを買うわけではない。オイラ的には単に買い物に行ったら年の瀬だったというレベルだが、思わず「Glenfiddich」などというスコッチ(安いけど)を買ってしまう。前回の「McCLELLAND'S-ISLAY」では失敗したので、呑んだことのある酒にしてみた。今年はコレで年を越そう。
2004-12-31(Fri) 勉強しつつ、年越し
私的緊急プロジェクトのため、PICマイコンの16F819とEEPROMのAT24C1024のデータシートとニラめっこする……が、ムズい。こりゃ迂闊にPICマイコン内蔵のI2C機能を利用するより、ベタで書いたほうがよいかなぁ。安くて小さい8pinPICでも使えるしなぁ。なにしろタイミングチャートの通りに信号が上げ下げできればいいんだろ? こっちには既にオシロもあるんだ。コワいモンはない!! んが、I2Cはクロックとデータが協調して動くプロトコルだ。こういう時に2chあるオシロが役に立つんだろうなぁ……って、初の実戦前からosziFOXに物足りなさを感じてしまう。ま、モノは使いようなのだということはわかっているのだが。






























































■ 中川 渉 [始めまして。初めてお便りをします。現在我が家のテレビが故障で、大変困っております。三菱の MULTI SOUND ..]
■ フルタニアン(管理者) [気持ちはお察しするが、この日記を読んでもらえばワカるように、オイラはプロでもなんでもなく、下手の横好きである。例えプ..]
■ 杉山 [安いテレビ(アナログタイプ)を買ったらBSチューナーが付いていませんでした。秋葉原で単品のアナログBSチューナーを探..]
■ 恵子 [実は私の家のテレビも同じように音声だけおかしいので、参考にさせていただきました。 ACアダプタとスピーカーコネクタを..]
■ フルタニアン(管理者) [まさに、その通り、そういうことです。 ちなみに、ここで使っているアンプキットは既にディスコンのようですが、回路は以下..]